发表评论分享按钮

苹果再次提交新技术专利:用户声音识别

2011/08/29

  北京时间8月29日消息,苹果于近日再次提交新技术专利,通过用户语音识别,不使用手指操控触摸屏即可对手机进行操作。专利名为“语音输入处理用户归档”,不仅能够识别用户声音,也能理解一些复杂的指令。要制作一个播放列表?没问题,要求手机去做就是了。需要给朋友打电话吗?对手机说话就可以。
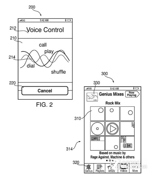
苹果新技术专利详解图

图:苹果新技术专利详解图

  苹果对此项专利的描述:播放、打电话、搜索这三种命令均可轻松实现。该专利称,它允许用户找到带四星、播放次数最多的歌曲,并且利用该歌曲作为种子创建一个Genius播放列表。

  苹果对于语音指令的专利开发并不新鲜。2010年4月,苹果收购了一家小公司Siri。该公司制作的应用程序能够让用户利用语音操控自己的iPhone手机。苹果预计在即将推出的iOS 5操作系统中采用Siri的语音导航技术。

中关村在线



相关阅读:
乔布斯十个经营理念成就今天的苹果 2011-08-25
苹果董事会宣布库克将接替乔布斯担任CEO 2011-08-25
苹果CEO乔布斯辞职 主因或是健康状况不佳 2011-08-25
iOS 5为日本用户加入地震预警系统 2011-08-23
苹果弃用追踪用户情况的工具 2011-08-22

热点专题:  语音合成TTS 语音识别ASR